2. 中国科学院大学 地球科学学院, 北京 100149
2. College of Earth Science, University of Chinese Academy of Sciences, Beijing 100149, China
现阶段静电放电(Electrostatic Discharge,ESD)已经逐渐成为导致各类电子设备故障的主要原因之一。据统计,美国电子行业部门每年因静电危害造成损失高达100亿美元,英国电子产品每年因静电造成的损失为20亿英镑,日本电子元器件的不合格品中不少于45%的危害是因为静电放电造成的[1]。电子设备静电放电危害日渐严重的原因是多方面的:一是由于静电放电过程可形成高电压、强电场和瞬时大电流,这些干扰源会通过电缆、地线等方式耦合进入设备内部;二是由于现在的集成电路集成度越来越高,其内绝缘层越来越薄,连线与连线之间间距越来越小,击穿电压越来越低,因此更易受到静电放电产生的高电压和电流的影响[2-3]。
基于以上情况,为了评估和提升器件和设备的抗静电放电能力,常常采用实验测试的方法,其基本步骤在GB/T 17626.2—2006中有明确规定,但其具有几个不可避免的缺陷:首先是静电放电实验平台的搭建受到器材、场地和资金的影响,其所需的测试暗室、静电放电枪和接地板的建立都需要相当的经费支持,同时需要专业的团队进行指导,这一点使静电放电抗扰度实验测试受到了极大的限制;再者静电放电实验测试过程中产生的高电压和大电流可能会在不清楚设备静电承受极限的情况下对设备和内部器件造成潜在损伤,对设备的正常运行造成严重威胁;同时静电放电实验的可重复性差,往往同一静电放电模拟器对同一试品不能给出一致的结果,这对于横向对比不同参数下的实验数据造成了巨大的困难[4]。基于以上问题,通过研制基于三维场路协同方法的静电损伤测试平台的途径,以仿真模拟的方法,可以有效地避免上述问题的发生。
本文拟利用电脑仿真技术(Computer Simulation Technology,CST)三维电磁仿真软件建立具有静电放电枪、受试设备、仿真参数设置以及数据输出和处理四大模块的静电损伤三维场路协同仿真测试平台。基于CST软件的仿真平台采用时域有限积分法作为电磁场求解算法的仿真器,与同类电磁场仿真软件诸如HFSS、ADS等相比具有仿真频谱宽、运算速度快、时域求解精度更高和适用于电大物体等优势,这对于分析具有宽频带的静电放电信号以及日益复杂的设备结构具有巨大的优势;在构建平台静电放电枪时,采用了电路与电磁场结合的场路分析方法,比现在采用的单一的电路方法或电磁场方法精度更高,准确度更好;再者仿真平台采用模块化和模型库的思想,将静电放电枪和受试设备的三维模型进行独立分析,并建立相应的模型库,既简化了分析的复杂度,又增强了平台的可扩展性和多样性;最后在数据输出和处理模块中提供了表面电流和磁场两种分析途径,可以全方位、立体化地了解静电放电对于设备的影响。
通过建立三维场路协同的静电损伤仿真测试平台,不仅避免了静电放电实验器材、场地以及资金受限的缺点,还不会由于放电电流过大对真实设备造成损伤。此外,利用计算机仿真的结果可重复性达到了100%,这对于分析不同参数下的实验数据提供了巨大的便利。因此建立静电放电三维场路协同仿真测试平台具有重大的意义。
1 仿真测试平台概述静电损伤仿真测试平台主要由四部分构成,分别是静电放电枪模块、受试设备模块、仿真参数设置模块以及数据输出和处理模块,这四部分在基于CST的仿真测试平台上实现,它们之间的关系如图 1所示。
|
| 图 1 静电损伤仿真测试平台结构图 Fig. 1 Structure of simulation test platform of electrostatic damage |
静电放电枪是整个仿真平台的激励源,用户通过模型库调入已经建立的静电放电枪模型完成激励源的设置。静电放电枪包括各种不同类型的静电放电波形,以应对不同实验情况下的仿真建模。
1.2 受试设备模块受试设备是静电放电的主体,用户通过CST仿真软件与Solidworks以及Cadence等软件的接口,将精确建模的设备三维模型以及PCB板模型导入CST中,联合静电放电枪模块,完成整个静电损伤测试平台的三维模型搭建。
1.3 仿真参数设置模块仿真参数的设置包括网格划分类型、网格划分数目、求解频率范围、激励响应时间、计算准确度、设备材料以及仿真边界设定等,用户需要根据设备的实际测试情况以及硬件条件设置最为优化的参数组合以得到预期的仿真结果。
1.4 数据输出和处理模块对于静电放电实验来说,主要关注的是激励源所产生的表面电流大小以及其产生的电磁场分布。用户可以通过设定电场和磁场探头以及监测表面电流的时域动态分布的方法了解静电放电对于设备的影响,为改进设备结构提供思路。
2 仿真测试平台的建立对比真实静电放电实验平台,基于CST的静电损伤仿真测试平台构建难点并不在于受试设备、仿真参数以及数据输出和处理,而在于静电放电枪的建模。受试设备可以通过结构图利用三维软件建模并导入CST,仿真参数以及数据输出和处理可以通过调用CST内的分析模块完成,但静电放电枪由于结构复杂,放电波形受各类因素影响较大,因此其建模具有一定的难度。为了解决这一问题,依据Caniggia教授的研究结果[5]以及IEC 61000-4-2标准,可以通过静电放电枪对金属板放电并监测放电波形的方法来验证静电放电枪的正确性。因此本部分首先对静电放电枪金属板放电过程建立等效电路模型并验证其正确性;在电路模型的集总参数基础上,结合CST软件,对静电放电枪进行三维场路协同仿真,并验证其正确性。随后对其他几个模块进行简要说明,为静电损伤仿真测试平台的应用打下基础。
2.1 静电放电枪模块的建立为了建立精确的静电放电枪模型,首先根据前人研究成果得到静电放电枪内部电路示意图,随后利用SIMetrix软件验证内部电路模型的正确性,最后结合得到的电路模型在CST内建立三维场路协同的静电放电枪模型。
2.1.1 静电放电枪放电电路仿真及正确性验证国内外学者针对静电放电枪放电电路模型有过比较深入的研究,国外的学者如密苏里大学电磁兼容实验室的Pommerenke教授及其团队[6]、罗马大学EMC的Caniggia教授以及Maradei教授[7]、日本静冈大学的Sekine等[8];国内有北京邮电大学的刘素玲[9]和北京交通大学的王望[10]。
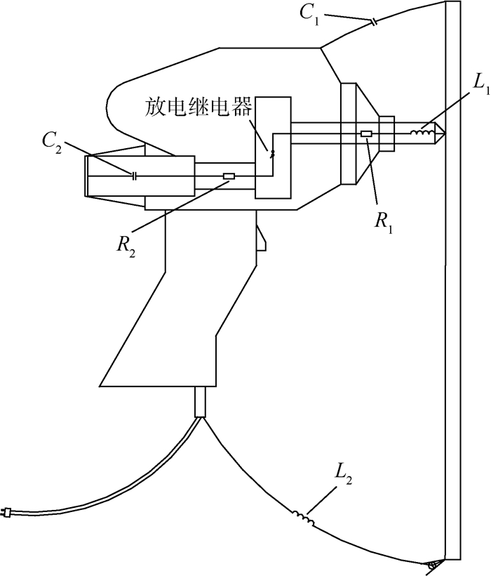
结合前人的研究基础,可以得到静电放电枪对金属板放电的实物示意图如图 2所示,图中所涉及的电路元件包括充放电电容C2、放电电阻R2、放电枪机壳和接地板分布电容C1、放电头电感L1、放电头电阻R1、接地线电感L2。
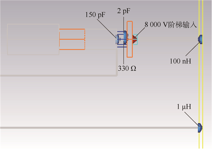
依据密苏里大学电磁兼容实验室的Pommerenke教授的研究成果,初始电压Vs的电容通过开关放电体现在负载上的电流和电压与具有Vs幅值的阶梯输出电压与初始电压为0的电容相互作用体现在负载上的电流和电压数值相同[11]。在此结论的基础之上,利用SIMetrix软件,将图 2对应的等效Spice电路图绘制出来,其基本形式如图 3所示,图中的各器件参数如表 1所示。
|
| 图 2 静电放电枪物理结构图 Fig. 2 Physical structure of ESD gun |
|
| 图 3 静电放电枪放电等效电路模型 Fig. 3 Equivalent circuit model of ESD gun discharging |
| 器件 | 数值 |
| C1/pF | 15 |
| C2/pF | 150 |
| C3/pF | 2 |
| R1/Ω | 25 |
| R2/Ω | 330 |
| L1/nH | 100 |
| L2/μH | 1 |
由GB/T 17626.2—2006可知,接触静电放电电压分为2、4、6和8 kV 4个等级,本文以8 kV放电电压为例进行仿真。通过SIMetrix软件可以得到静电放电的时域放电波形与GB/T 17626.2—2006标准波形对比如图 4所示,具体参数对比如表 2所示,可以看出仿真波形满足标准要求。通过此种方式,本文验证了静电放电枪对金属板放电电路模型的正确性。
|
| 图 4 标准波形与SIMetrix仿真波形的对比 Fig. 4 Comparison between standard waveform and SIMetrix simulated waveform |
| 指标类别 | 放电 电压/ kV |
放电的 第1个 峰值电流 (±10%)/ A |
放电开 关操作 时的上 升时间/ ns |
30 ns时的 电流 (±30%)/ A |
60 ns时的 电流 (±30%)/ A |
| 标准数值 | 8 | 30 | 0.7~1 | 16 | 8 |
| 仿真数值 | 8 | 30.34 | 1 | 13.06 | 7.62 |
| 偏差/% | 1.1 | 18.4 | 4.75 |
2.1.2 静电放电枪的CST建模及正确性验证
SIMetrix的电路仿真结果得出了静电放电枪电路模型,同时验证了静电放电波形的正确性。在电路模型正确的集总参数基础之上,结合CST的三维建模模块,建立静电放电枪模型如图 5所示,模型中的集总元件参数如图 6所示[12-13]。
|
| 图 5 CST静电放电枪仿真模型图 Fig. 5 CST simulated model of ESD gun |
|
| 图 6 静电放电枪集总元件参数示意图 Fig. 6 Schematic diagram of lumped elements parameters of ESD gun |
利用以上三维模型,在CST软件中进行仿真分析,仿真频率范围设为0~500 MHz,accuracy参数设定为-40 dB,lines per wavelength参数设定为20,最终得到的CST放电电流波形与标准波形的对比如图 7所示,该曲线与GB/T 17626.2—2006对比的结果如表 3所示。通过对比可以看出CST放电仿真波形满足标准要求,验证了CST静电放电枪电路模型的正确性。
|
| 图 7 标准波形与CST仿真波形的对比 Fig. 7 Comparison between standard waveform and CST simulated waveform |
| 指标类别 | 放电 电压/ kV |
放电的第1 个峰值电流 (±10%)/ A |
放电开 关操作 时的上 升时间/ ns |
30 ns时的 电流 (±30%)/ A |
60 ns时的 电流 (±30%)/ A |
| 标准数值 | 8 | 30 | 0.7~1 | 16 | 8 |
| 仿真数值 | 8 | 28.99 | 1 | 11.2 | 7.54 |
| 偏差/% | 3.4 | 30 | 5.75 |
至此通过SIMetrix和CST得到了8 kV的静电放电枪模型。在此基础上,可以通过修改模型中的集总参数得到不同放电电压的静电放电波形,建立静电放电枪模型库。
2.2 受试设备模块、仿真参数设置模块以及数据输出和处理模块的建立静电放电枪模块的建立解决了静电损伤仿真测试平台的核心问题。在此基础上,需要配合受试设备模块完成最终的三维仿真模型。受试设备模块建立的重中之重就是其模型库的构建,包括不同类型的单机结构以及不同种类的PCB板结构,这一点可以通过前期的Solidworks建模以及Cadence的电路板绘制完成。
仿真参数设置模块具有较强的普适性,通过对研究对象的分析、长时间的测试仿真以及硬件方面的考虑,决定将仿真平台参数定为求解频率0~500 MHz、网格划分类型为六面体、计算准确度设定为-40 dB、网格划分数目设定为20、仿真边界条件设置为吸收边界、激励响应时间为60 ns。参数监测器以表面电流和磁场探头为主。当然,这些参数会随着仿真的不断深入以及硬件设备的更换进行变化,以期达到最优的参数组合。
数据输出和处理模块作为整个仿真测试平台的输出,需要通过各类的监测器将结果以图形、图像或公式的形式表示出来。如果CST本身不能满足要求,可利用其二次开发功能,联合MATLAB等计算软件输出所需的计算结果。
3 仿真测试平台的应用本节拟利用静电放电枪模块中8 kV静电放电枪模型结合受试设备模块中的一台数据传输设备模型进行8 kV接触放电实验仿真,通过设定好的仿真参数模块得到表面电流的动态分布数据和磁场探头时域数据,并对设备可能产生的传导干扰和辐射干扰进行分析。
3.1 设备静电放电实验模型构建结合前人利用静电放电枪模型对手机进行静电放电仿真的研究[14],此设备8 kV接触放电仿真的模型如图 8所示,模型中主要包括静电放电枪、受试设备(铝壳)、静电桌垫(泡沫塑料材质)以及铜质地板。
|
| 图 8 静电放电枪对金属壳体放电示意图 Fig. 8 Schematic diagram of ESD gun discharging on metal closure |
模型仿真参数模块设置为频率0~500 MHz、网格划分类型为六面体、计算准确度设定为-40 dB、网格划分数目设定为20,采样时间间隔为1 ns,模型设定的监测参数为磁场探头以及仪器表面电流的分布数值,图 9中展示了仿真模型表面电流的最大值分布情况。
|
| 图 9 表面电流分布示意图 Fig. 9 Schematic diagram of surface current distribution |
设备的静电放电抗扰度特性通常要从两方面来衡量:一类是由于接触放电产生的传导干扰对设备的影响,另一类是由于静电放电产生的辐射干扰对设备产生的影响。传导干扰一般利用导线电流或表面电流来表征,而辐射干扰一般通过分析电磁场数值大小来表征。下面两部分将结合仿真结果,分别对两种干扰量值以及其耦合途径进行简要分析。
3.2.1 传导干扰分析在此例中,传导干扰源即静电放电源对前侧金属板进行接触放电,其产生的表面电流通过前侧板传导至顶板。前板的表面电流呈圆环状形式衰减,放电中心表面电流超过1 000 A/m,前板与顶板连接处的表面电流有40~50 A/m,从图 9中可以看出。
为了更加清楚地了解表面电流耦合到电源接口的过程,通过仿真软件对顶板和电源接口的表面电流进行单独分析,图 10中的表面电流图展示了静电放电后2 ns顶板及各连接器表面电流的分布情况,而局部图将电源接口的表面电流分布展示出来。
|
| 图 10 放电2 ns时的表面电流分布 Fig. 10 Surface current distribution at 2 ns after discharge |
分析所得仿真数据,可以得到如下结论:
1) 顶板与其他侧板连接部位的表面电流峰值可达25 A/m,而顶板靠近各连接器的表面电流峰值约为16 A/m,两者相差了9 A/m,因此应尽量避免连接器或者线缆放置在各板连接的位置,以防不必要的干扰。
2) 观察矩形连接器各个平面,以图 10矩形框内的连接器为例进行说明,可以看出,与放电侧板平行的面靠近边缘的表面电流可达到16 A/m,而此平面中心位置的表面电流值为11 A/m。观察其他矩形连接器也可以看出平面边缘处的表面电流值要比平面中心的表面电流大。上述数据表明静电干扰传播途径主要集中在设备和连接器的边缘部位,这些部位极易传播大量表面电流。
3) 另外通过图 10中电源接口的局部图可以看出,与放电侧板平行面的表面电流峰值可达到15 A/m,而垂直于放电侧板平面的表面电流峰值只有8 A/m,平行面远远大于垂直面。由此可以推断出表面电流传播具有方向性,这一点可以为后续实际测量表面电流传播途径以及定位静电放电点提供依据。
为了进一步验证上述结论的正确性,通过更改模型的放电位置结合实际测试的方式,分析所得数据,其结果与上述结论相符。因为篇幅限制,在此不再赘述。
3.2.2 辐射干扰分析由于静电放电电流在短时间内产生了一个非常强烈的尖峰,根据静电放电辐射场公式[15]可以断定其产生的磁场脉冲场也具有尖峰,而这一尖峰很有可能会在设备线缆上耦合出电流。为了验证这一说法,结合图 10的坐标体系,在电源接口上端放置磁场探头,得到x、y和z方向的磁场如图 11所示。
|
| 图 11 x、y和z方向的时域磁场波形图 Fig. 11 x,y and z magnetic field oscillogram in time domain |
由3个方向的磁场时域波形可以得到如下结论:可以清晰地看出x方向磁场在1 ns之后产生了一个磁场脉冲。虽然其在电源端口附近产生的磁场强度峰值不大,约为9.5 A/m,但其变化速度非常快。假设电源端口附近存在闭合回路,回路面积为1 cm2,现以1~2 ns为区间,其磁场变化率可达9.5×105A/(m·s)。依据法拉第电磁感应定律可以求得回路中产生的感应电动势为1.19 V,若回路中电阻较小,则可以产生安培级的电流脉冲干扰,对电源本身的工作状态产生影响,甚至损坏内部器件。因此在安排线缆时一定要减少和避免出现局部的闭合回路,防止静电放电脉冲电磁场对设备的影响。
4 结 论1) 本文依据GB/T 17626.2—2006分析出静电放电枪对金属板放电的等效电路模型同时建立了CST中的三维静电放电枪模型。
2) 利用CST建立好的静电放电模型对一台数据传输设备进行8 kV接触放电仿真,得到了表面电流分布图和电源接口附近的磁场数据。
3) 通过仿真数据分析了传导干扰和辐射干扰的基本特征,得出了机壳各板连接处、矩形连接器边缘处等易于聚集表面电流的位置,同时近似估算了电源接口附近可以产生1.19 V感应电动势的结论。
4) 利用该静电损伤仿真测试平台,实现了对GB/T 17626.2—2006中静电放电实验的全链路仿真测试,该仿真测试平台不同于以往对静电测试的局部仿真或器件级仿真,而是整机级的仿真,对工程指导更具体、更直观。
在随后的工作中,需要进一步完善静电损伤仿真测试平台中的静电放电枪模型库,同时增加受试设备模型库的种类和数量;在此基础之上,通过开发软件平台,将静电放电枪模型库和设备模型库作为软件的数据库,将仿真参数模块中的各个参数作为软件的仿真参数,并通过调用软件的三维可视化模块,更加直观地实现模型的各类参数的仿真模拟。
| [1] | 徐明明. 静电放电的危害与防护[J]. 科技传播, 2011 (13) : 36 . XU M M. The damage and protection of ESD[J]. Technology Spreading, 2011 (13) : 36 . (in Chinese) |
| [2] | 吴健.静电放电(ESD)辐射特性的研究[D].哈尔滨:哈尔滨工业大学,2009:1. WU J.Research of fields radiated by electrostatic discharges[D].Harbin:Harbin Institute of Technology,2009:1(in Chinese). http://cdmd.cnki.com.cn/article/cdmd-10213-2010026686.htm |
| [3] | 刘尚合, 刘卫东. 电磁兼容与电磁防护相关研究进展[J]. 高电压技术, 2014, 40 (6) : 1605 –1613. LIU S H, LIU W D. Progress of relevant research on electromagnetic compatibility and electromagnetic protection[J]. High Voltage Engineering, 2014, 40 (6) : 1605 –1613. (in Chinese) |
| [4] | 原青云, 刘尚合, 张希军, 等. IEC 61000-4-2标准试验平台的局限性分析及其完善的探讨[J]. 高电压技术, 2011, 37 (1) : 118 –123. YUAN Q Y, LIU S H, ZHANG X J, et al. Analysis and devolopment of limitation of the ESD immunity test platform specified in the standard IEC 61000-4-2[J]. High Voltage Engineering, 2011, 37 (1) : 118 –123. (in Chinese) |
| [5] | CANIGGIA S, MARADEI F. Circuit and numerical modeling of electrostatic discharge generators[J]. IEEE Transactions on Industry Applications, 2006, 42 (6) : 1350 –1357. DOI:10.1109/TIA.2006.882686 |
| [6] | WANG K, POMMERENKE D, CHUNDRU R, et al. Numerical modeling of electrostatic discharge generators[J]. IEEE Transactions on Electromagnetic Compatibility, 2003, 45 (2) : 258 –271. DOI:10.1109/TEMC.2003.810817 |
| [7] | CENTOLA F,POMMERENKE D,KAI W,et al.ESD excitation model for susceptibility study[C]//2003 IEEE International Symposium on Electromagnetic Compatibility.Piscataway,NJ:IEEE Press,2003,1:58-63. |
| [8] | SEKINE T,ASAI H,LEE J S.Unified circuit modeling technique for the simulation of electrostatic discharge ESD injected by an ESD generator[C]//2012 IEEE International Symposium on Electromagnetic Compatibility (EMC).Piscataway,NJ:IEEE Press,2012:340-345. |
| [9] | 刘素玲.外场对通信线缆的瞬态响应分析及ESD放电电流的传输线理论分析[D].北京:北京邮电大学,2008:13. LIU S L.Transient analysis of telecommunication cable excited by external field and electrostatic discharge current analyzed by transmission line theory[D].Beijing:Beijing University of Posts and Telecommunications,2008:13(in Chinese). http://cdmd.cnki.com.cn/article/cdmd-10013-2008140222.htm |
| [10] | 王望.静电放电辐射电场的研究以及静电枪检验方法研究[D].北京:北京交通大学,2012:10. WANG W.The study of ESD radiation of the electric field and calibration method of ESD simulator[D].Beijing:Beijing Jiaotong University,2012:10(in Chinese). http://cdmd.cnki.com.cn/article/cdmd-10004-1012319058.htm |
| [11] | KOO J, CAI Q, MUCHAIDZE G, et al. Frequency-domain measurement method for the analysis of ESD generators and coupling[J]. IEEE Transactions on Electromagnetic Compatibility, 2007, 49 (3) : 504 –511. DOI:10.1109/TEMC.2007.902190 |
| [12] | LIU D,NANDY A,POMMERENKE D,et al.Full wave model for simulating a noiseken ESD generator[C]//2009 IEEE International Symposium on Electromagnetic Compatibility(EMC 2009).Piscataway,NJ:IEEE Press,2009:334-339. |
| [13] | CANIGGIA S,MARADEI F.Analytical and numerical simulation models for calculating EMI into circuits due to ESD radiated fields[C]//2011 IEEE International Symposium on Electromagnetic Compatibility(EMC 2011).Piscataway,NJ:IEEE Press,2011:602-606. |
| [14] | LIN J H, YOU J H. The full wave analysis of the influence by the affecting on the cell phone capacitive touch panel[J]. International Journal of Science and Engineering, 2014, 4 (1) : 55 –58. |
| [15] | WILSON P F, MA M T. Fields radiated by electrostatic discharges[J]. IEEE Transactions on Electromagnetic Compatibility, 1991, 33 (1) : 10 –18. DOI:10.1109/15.68245 |


