-
摘要:
针对传统多学科设计优化(MDO)模型复杂导致计算量大、收敛困难等问题,以高超声速飞机为研究对象,提出一种基于贝叶斯优化理论的飞机翼面布局与任务轨迹一体化设计优化方法。构建包含翼面特征参数的气动特性代理模型,在此基础上,以高超声速飞机翼面特征参数为输入,以
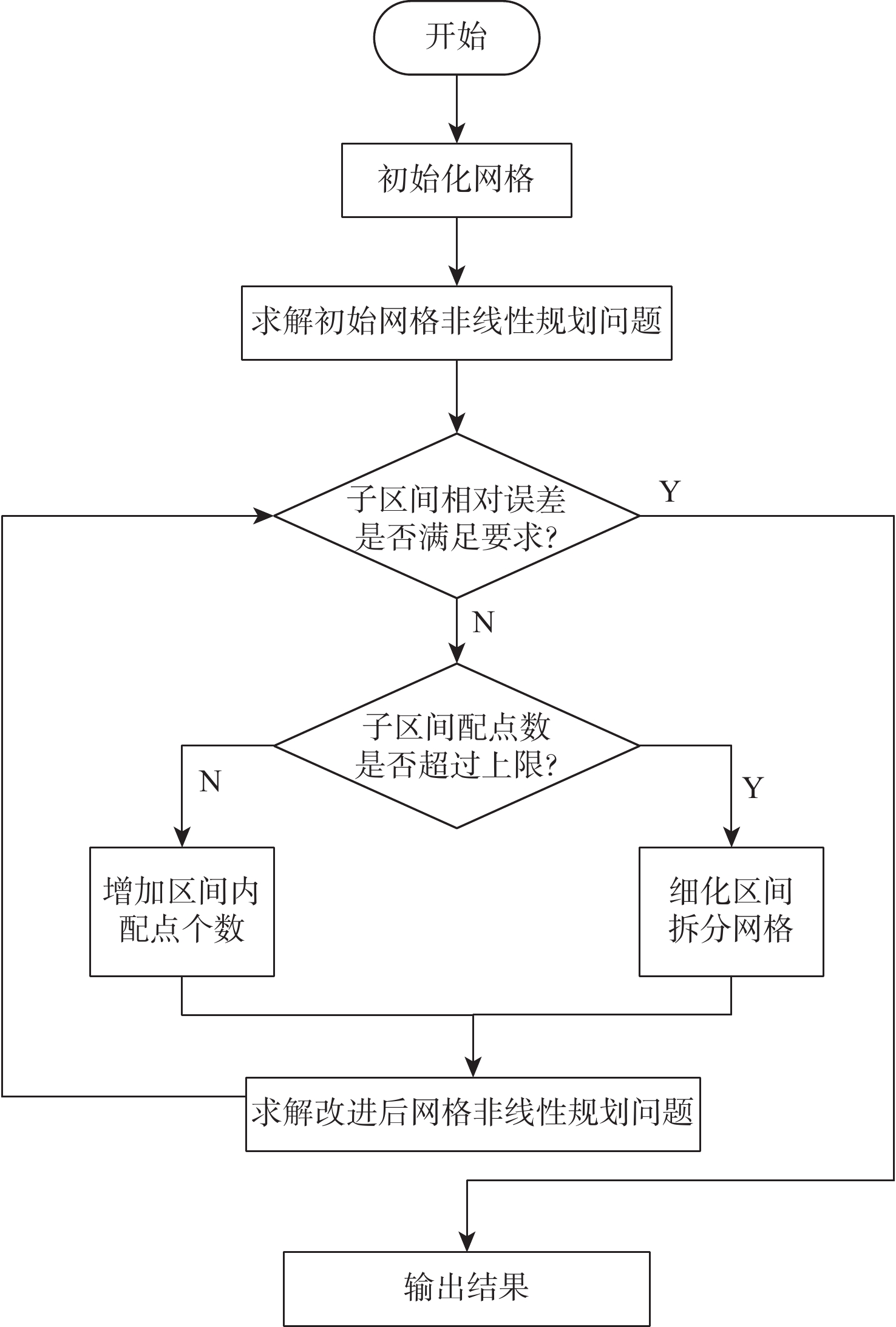
hp 自适应Radau伪谱法求解得到的最优飞行轨迹燃油消耗量为输出,基于贝叶斯优化方法构建翼面布局-轨迹一体化迭代设计流程,通过期望改进(EI)策略更新样本点参数,实现面向特定飞行任务的高超声速飞机翼面布局与任务轨迹一体化优化设计。仿真结果表明:所提方法能够在满足优化结果收敛精度的前提下,显著提升迭代设计效率,具有较强的工程应用价值。Abstract:An integrated optimization approach based on Bayesian optimization theory is suggested for hypersonic aircraft in order to lower the computing cost and speed up the rate of convergence during multidisciplinary design optimization (MDO). This approach simultaneously gives the best wing arrangement and matching mission trajectory. Firstly, surrogate models of aerodynamic characteristics coefficients are constructed for hypersonic aircraft with different wing configurations. Based on this, an integrated iterative design process for the wing layout and trajectory is built using the Bayesian optimization approach. The output of this process is the optimal fuel consumption determined by the
hp adaptive Radau pseudospectral method, while the input is the wing design parameters. With the sample points updated through the expected improvement (EI) function, the wing layout and corresponding optimal mission trajectory for specific flight missions are updated automatically. Simulation results show that the proposed method can significantly improve the iterative design efficiency while keeping the convergence accuracy, and it shows great value in engineering applications. -
表 1 高超声速飞机基准几何特征参数
Table 1. Reference parameters of geometric features of hypersonic aircraft
几何参数 数值 机长/m 22.484 机宽/m 3.400 机高/m 1.121 翼展/m 3.600 翼根弦长/m 9.256 翼梢弦长/m 1.000 主翼第一后掠角/(°) 70 主翼第二后掠角/(°) 38.133 机翼投影面积/m2 32.085 空重/kg 11000 起飞质量/kg 20000 表 2 飞行任务条件
Table 2. Flight mission conditions
任务条件 h/km Ma m/kg $\gamma $/(°) r/km 爬升段
初始条件17.6 3 20000 0 0 爬升段
终端条件24.2 5 $ \geqslant $ 11000 0 巡航段
终端条件24.2 5 $ \geqslant $ 11000 0 1000 表 3 优化结果
Table 3. Optimal results
方法 ${\theta _1}$/(°) ${c_1}$/m 剩余质量/kg 计算时间/s 基准翼面 70.000 1.000 17007.482 13.056 贝叶斯优化 77.549 0.800 17115.889 637.475 遗传算法 77.383 0.800 17115.938 15517.108 -
[1] 李宪开, 王霄, 柳军, 等. 水平起降高超声速飞机气动布局技术研究[J]. 航空科学技术, 2020, 31(11): 7-13.LI X K, WANG X, LIU J, et al. Research on the aerodynamic layout design for the horizontal take-off and landing hypersonic aircraft[J]. Aeronautical Science & Technology, 2020, 31(11): 7-13(in Chinese). [2] 廖孟豪, 李宪开, 窦相民. 美国高超声速作战飞机气动布局演化分析[J]. 航空科学技术, 2020, 31(11): 3-6.LIAO M H, LI X K, DOU X M. Evolution analysis of aerodynamic configuration of hypersonic military aircraft in USA[J]. Aeronautical Science & Technology, 2020, 31(11): 3-6(in Chinese). [3] 戴旭平, 王霄, 卢恩巍, 等. 宽速域无尾布局气动焦点变化规律研究[J]. 航空科学技术, 2020, 31(11): 97-103.DAI X P, WANG X, LU E W, et al. Investigation on aerodynamic center of tailless configuration under the wide Mach number range[J]. Aeronautical Science & Technology, 2020, 31(11): 97-103(in Chinese). [4] 张远, 黄万伟, 路坤锋, 等. 高超声速变外形飞行器建模与有限时间控制[J]. 北京航空航天大学学报, 2022, 48(10): 1979-1993.ZHANG Y, HUANG W W, LU K F, et al. Modeling and finite-time control for hypersonic morphing flight vehicle[J]. Journal of Beijing University of Aeronautics and Astronautics, 2022, 48(10): 1979-1993(in Chinese). [5] TSUCHIYA T, TAKENAKA Y, TAGUCHI H. Multidisciplinary design optimization for hypersonic experimental vehicle[J]. AIAA Journal, 2007, 45(7): 1655-1662. doi: 10.2514/1.26668 [6] LIU W, ZHANG C N, WANG X P, et al. Parametric study on lateral-directional stability of hypersonic waverider[J]. AIAA Journal, 2021, 59(8): 3025-3042. [7] 杨磊, 韦喜忠, 赵峰, 等. 多学科设计优化算法研究综述[J]. 舰船科学技术, 2017, 39(3): 1-5.YANG L, WEI X Z, ZHAO F, et al. Review of the multidisciplinary design optimization algorithm[J]. Ship Science and Technology, 2017, 39(3): 1-5(in Chinese). [8] LIU F, HAN Z H, ZHANG Y, et al. Surrogate-based aerodynamic shape optimization of hypersonic flows considering transonic performance[J]. Aerospace Science and Technology, 2019, 93: 105345. doi: 10.1016/j.ast.2019.105345 [9] YUAN Y L, SHEN Q L, XI W H, et al. Multidisciplinary design optimization of dynamic positioning system for semi-submersible platform[J]. Ocean Engineering, 2023, 285: 115426. doi: 10.1016/j.oceaneng.2023.115426 [10] 张天天. 吸气式宽速域巡航飞行器多学科设计优化技术研究[D]. 长沙: 国防科技大学, 2020: 11-15.ZHANG T T. Research on the multidisciplinary design optimization technique of the airbreathing wide-speed-range cruising vehicle[D]. Changsha: National University of Defense Technology, 2020: 11-15(in Chinese). [11] SHAHRIARI B, SWERSKY K, WANG Z Y, et al. Taking the human out of the loop: a review of Bayesian optimization[J]. Proceedings of the IEEE, 2016, 104(1): 148-175. doi: 10.1109/JPROC.2015.2494218 [12] 韩忠华. Kriging模型及代理优化算法研究进展[J]. 航空学报, 2016, 37(11): 3197-3225.HAN Z H. Kriging surrogate model and its application to design optimization: a review of recent progress[J]. Acta Aeronautica et Astronautica Sinica, 2016, 37(11): 3197-3225(in Chinese). [13] COULTER B, WANG Z B, HUANG D N. Geometric design of hypersonic vehicles for optimal mission performance using machine learning[C]//Proceedings of the AIAA SCITECH 2022 Forum. Reston: AIAA, 2022: 1304. [14] 口启慧, 王海峰, 刘坤澎, 等. 基于一种贝叶斯优化框架的高空螺旋桨气动优化设计[J]. 空气动力学学报, 2023, 41(4): 96-103.KOU Q H, WANG H F, LIU K P, et al. Aerodynamic design of high-altitude propellers within a Bayesian optimization framework[J]. Acta Aerodynamica Sinica, 2023, 41(4): 96-103(in Chinese). [15] MARIO G S. Control co-design: an engineering game changer[J]. Advanced Control for Applications: Engineering and Industrial Systems, 2019, 1(1): 18. doi: 10.1002/adc2.18 [16] LI R, XU P, PENG Y, et al. Multi-objective optimization of a high-speed train head based on the FFD method[J]. Journal of Wind Engineering and Industrial Aerodynamics, 2016, 152: 41-49. doi: 10.1016/j.jweia.2016.03.003 [17] AJAJ R M, PARANCHEERIVILAKKATHIL M S, AMOOZGAR M, et al. Recent developments in the aeroelasticity of morphing aircraft[J]. Progress in Aerospace Sciences, 2021, 120: 100682. doi: 10.1016/j.paerosci.2020.100682 [18] 陈召斌, 廖孟豪, 李飞, 等. 高超声速飞机总体气动布局设计特点分析[J]. 航空科学技术, 2022, 33(2): 6-11.CHEN Z B, LIAO M H, LI F, et al. Analysis of design characteristics of overall aerodynamic layout of hypersonic aircraft[J]. Aeronautical Science & Technology, 2022, 33(2): 6-11(in Chinese) . [19] MA Y, YANG T, FENG Z W, et al. Hypersonic lifting body aerodynamic shape optimization based on the multiobjective evolutionary algorithm based on decomposition[J]. Proceedings of the Institution of Mechanical Engineers, Part G: Journal of Aerospace Engineering, 2015, 229(7): 1246-1266. doi: 10.1177/0954410014548699 [20] OPPENHEIMER M, DOMAN D, MCNAMARA J, et al. Viscous effects for a hypersonic vehicle model[C]//Proceedings of the AIAA Atmospheric Flight Mechanics Conference and Exhibit. Reston: AIAA, 2008: 6382. [21] 袁亚, 刘君, 余家泉, 等. 高速折叠翼飞行器气动布局优化设计[J]. 北京航空航天大学学报, 2024, 50(11): 3410-3416.YUAN Y, LIU J, YU J Q, et al. Research on aerodynamic layout optimization technology of high-speed folding vehicle[J]. Journal of Beijing University of Aeronautics and Astronautics, 2024, 50(11): 3410-3416(in Chinese). [22] 衣春轮, 刘燕斌, 曹瑞, 等. 基于代理模型的高超声速飞行器外形参数优化[J]. 航空动力学报, 2019, 34(11): 2354-2365.YI C L, LIU Y B, CAO R, et al. Shape parameters optimization of hypersonic vehicle based on surrogate model[J]. Journal of Aerospace Power, 2019, 34(11): 2354-2365(in Chinese). [23] PATTERSON M A, RAO A V. Exploiting sparsity in direct collocation pseudospectral methods for solving optimal control problems[J]. Journal of Spacecraft and Rockets, 2012, 49(2): 354-377. doi: 10.2514/1.A32071 [24] 任鹏飞, 王洪波, 周国峰, 等. 临近空间固体动力飞行器发动机与轨迹一体化设计优化[J]. 推进技术, 2021, 42(9): 1936-1947.REN P F, WANG H B, ZHOU G F, et al. Integrated design optimization for motor and trajectory of near space solid rocket motor powered vehicle[J]. Journal of Propulsion Technology, 2021, 42(9): 1936-1947(in Chinese). [25] 何志昆, 刘光斌, 赵曦晶, 等. 高斯过程回归方法综述[J]. 控制与决策, 2013, 28(8): 1121-1129.HE Z K, LIU G B, ZHAO X J, et al. Overview of Gaussian process regression[J]. Control and Decision, 2013, 28(8): 1121-1129(in Chinese). [26] 李亚茹, 张宇来, 王佳晨. 面向超参数估计的贝叶斯优化方法综述[J]. 计算机科学, 2022, 49(增刊1): 86-92.LI Y R, ZHANG Y L, WANG J C. Survey on Bayesian optimization methods for hyper-parameter tuning[J]. Computer Science, 2022, 49(Sup 1): 86-92(in Chinese). [27] 龚开奇, 魏宏夔, 李嘉玮, 等. 基于深度强化学习的跳跃式导弹轨迹优化算法[J]. 北京航空航天大学学报, 2023, 49(6): 1383-1393.GONG K Q, WEI H K, LI J W, et al. Trajectory optimization algorithm of skipping missile based on deep reinforcement learning[J]. Journal of Beijing University of Aeronautics and Astronautics, 2023, 49(6): 1383-1393(in Chinese). -


下载: