Current Issue

2026 Vol. 52, No. 1

Display Method:
Volume 1 Issue E-journal
Volume 52 Issue12026
iconDownload (70503) 541 iconPreview
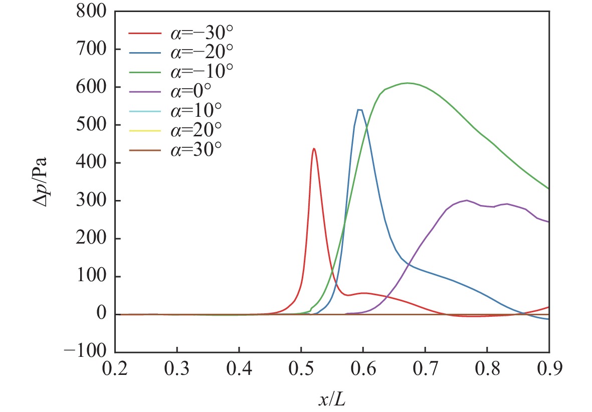
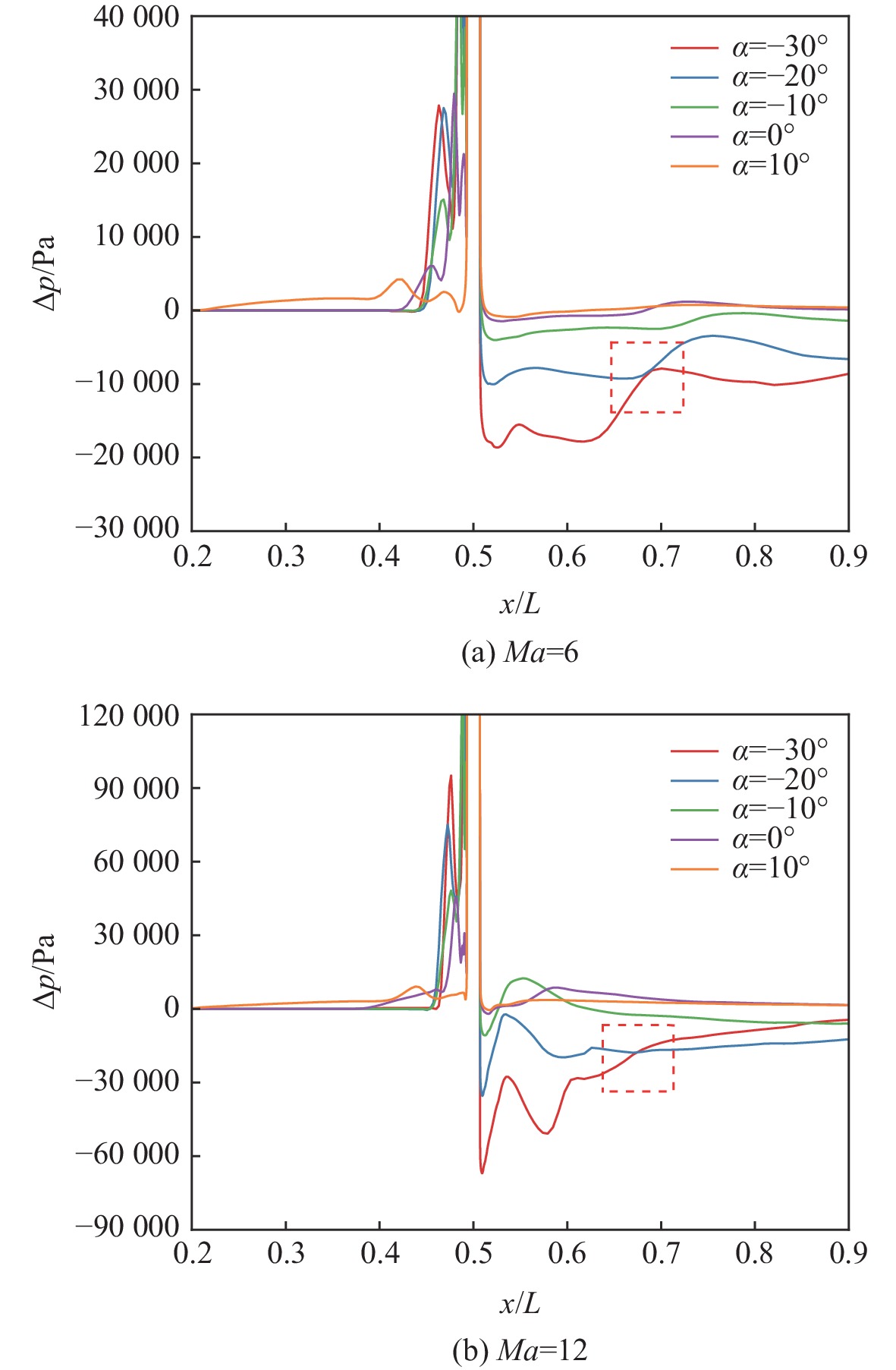
Numerical study on lateral jet control efficiency of a hypersonic re-entry double-cone vehicle
LEI Juanmian, ZHU Peiyu
2026, 52(1): 1-14. doi: 10.13700/j.bh.1001-5965.2023.0714
Abstract:

Lateral jet control is an effective means for vehicle attitude and trajectory control. Based on the three-dimensional Reynolds-averaged Navier-Stokes (RANS) equations, a numerical simulation study of the flow field surrounding the lateral jets of re-entry double-cone vehicles was carried out in order to investigate the variation of jet control efficiency of hypersonic re-entry double-cone vehicles with flight conditions and flight attitude angles. The study analyzed the influence of flight Mach number, altitude, angle of attack, and sideslip angle on jet control efficiency and revealed the corresponding flow mechanisms. The results indicate that increasing the flight Mach number or reducing the flight altitude can significantly enhance the control efficiency of normal force and pitch moment during lateral jet control. As the flight altitude increases, the control efficiency gradually approaches 1. The interaction between the lateral jet and the incoming flow causes a large area of jet gas to act on the vehicle’s surface when the angle of attack are −20° and −30°. This results in a negative control efficiency of the jet normal force but an improvement in the control efficiency of the jet pitch moment. As the angle of attack changes towards positive values, the jet normal force control efficiency gradually becomes positive and reaches its optimum at 10°, while the jet pitch moment control efficiency approaches 1. Changes in flight sideslip angle have a relatively small impact on jet control efficiency.

A TCN trajectory prediction method fusing MSC and spatio-temporal dual attention
JIAO Weidong, YANG Bei
2026, 52(1): 15-27. doi: 10.13700/j.bh.1001-5965.2023.0717
Abstract:

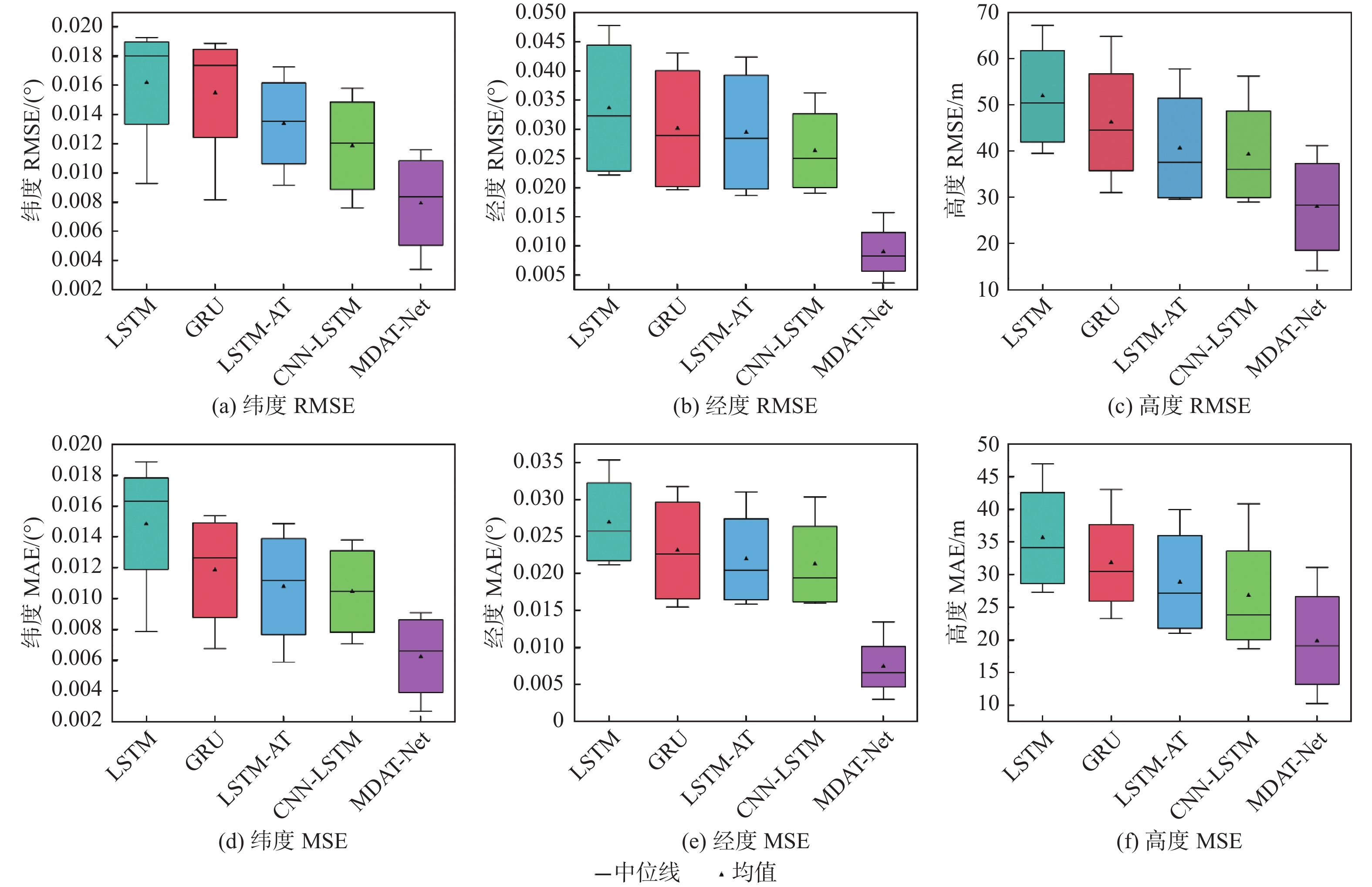
Aiming at the problem that existing trajectory prediction models are difficult to effectively extract multi-scale spatio-temporal features, which leads to limited prediction accuracy, a new method MDAT-Net for trajectory prediction based on a temporal convolutional network (TCN) fused with a multi-scale convolutional (MSC) network and spatio-temporal dual attention (STDA) is proposed. The MDAT-Net model contains the MSAT, MTAT trajectory prediction module and voting module. First, in the prediction module, a multi-scale convolution architecture is built using different scale convolution kernels to better extract spatio-temporal features at various scales and solve the fixed kernel size issue in the traditional temporal convolutional network. Secondly, in order to dynamically mine the potential correlation between hidden features and target features, spatial attention mechanism and temporal attention mechanism are introduced to adaptively focus on important information and skip secondary information. Finally, the voting module decides which model to apply for each dimension prediction, allowing the benefits of both prediction models to be combined and high-precision trajectory prediction to be achieved. The experimental results show that the MDAT-Net model can improve the root mean square error (RMSE) up to 83.33% and the mean absolute error (MAE) up to 85.85% with high accuracy and robustness.

Multimodal feature interaction and semantic guided fusion for RGB-T population counting
CHEN Yong, ZHANG Jiaojiao, DONG Ke
2026, 52(1): 28-37. doi: 10.13700/j.bh.1001-5965.2023.0735
Abstract:

RGB-T mode crowd counting is designed to take advantage of the complementarity of visible RGB and thermal infrared image to achieve crowd counting. Aiming at the problems of insufficient information interaction between modes and insufficient feature fusion in the feature extraction of the RGB-T multimodal crowd counting method, an RGB-T crowd counting method based on multi-modal feature interaction and semantic guided fusion is proposed. Firstly, a stacked small scale convolution kernel is designed as a branch of the backbone network to extract the coarse features of each single mode. Secondly, in order to address the limited information interaction between the modes, a multi-modal feature interaction module is suggested. This module will extract the features of each RGB and thermal infrared mode and actualize the interactive features of the mode information. Then, a semantic-guided fusion module is designed to enhance the semantic relevance of multi-modal crowd features through global and local feature-guided fusion, so as to fully integrate multi-context information and improve the recognition ability of the target population. Finally, the regression head is used to generate the population density map and output the counting results. Experimental results demonstrate that the proposed method outperforms the comparison algorithms on the open RGBT-CC dataset, with a 31.12% reduction in the root-mean-square error value compared to the CMCRL method and higher accuracy for crowd counting under various scenarios.

Aircraft skin defect detection algorithm based on enhanced YOLOv8
ZHANG Dongping, WANG Zhutao, XIA Yuejian, XU Yunchao, LIN Lili
2026, 52(1): 38-48. doi: 10.13700/j.bh.1001-5965.2023.0744
Abstract:

In order to solve the problem that traditional aircraft skin defect detection relies on human eye observation, which leads to reduced efficiency due to easy fatigue of the human eye and limited individual cognition, an aircraft skin defect detection algorithm based on improved YOLOv8 is proposed. Improve the data improvement strategy and propose a new one that combines slice reasoning with mosaic. Integrate the residual block into the feature extraction network to enhance the network expression ability and improve the accuracy of the model in aircraft skin defect detection tasks. Use the triplet attention module to strengthen the feature fusion network and lower the false and missed detection rates of small target samples. Optimize the structure of the detection head so that the network can better effectively combine shallow information with depth information. On the aircraft skin defect data set, experimental results indicate that the revised algorithm’s mean average precision (mAP) and recall rate have increased by 3.6% and 3.7%, respectively, in comparison to the most recent YOLOv8 algorithm. The mAP and recall rate on the public data set VOC2007 increased by 2.9% and 2.2%, respectively.

Star convex irregular shape multi-extended target PMBM filter
CHEN Hui, LIU Mengbo, LIAN Feng, HAN Chongzhao
2026, 52(1): 49-60. doi: 10.13700/j.bh.1001-5965.2023.0766
Abstract:

This work suggests a star convex irregular shape multi-extended target Poisson multi-Bernoulli mixture (PMBM) filtering algorithm to address the challenge of monitoring multiple extended targets with irregular shapes in complicated and uncertain situations. First, the Poisson point process (PPP) and multi-Bernoulli mixture (MBM) are used to model the unknown and existing target sets, effectively representing potential target information while establishing an efficient multi-target density recursive form. The measurement source distribution of any star convex extended target is accurately modeled by the random hypersurface model, and the best nonlinear filter solves the highly nonlinear pseudo measurement equation. On the basis of deriving the extended target Poisson multi-Bernoulli mixture (ETPMBM) filter, the Gaussian mixture star convex irregular shape multi-extended target PMBM filter algorithm is derived and proposed in detail. In order to effectively and recursively estimate the probability density of numerous extended targets with multiple feature information, including irregular forms, this approach can create more compact multi-Bernoulli global hypotheses. Finally, the effectiveness of the algorithm proposed in this paper is verified through simulation experiments of multiple extended target tracking and multiple group target tracking.

Prediction of microbe-drug association based on graph attention stacked autoencoder
WANG Bo, HE Yang, DU Xiaoxin, ZHANG Jianfei, XU Jingran, JIA Na
2026, 52(1): 61-72. doi: 10.13700/j.bh.1001-5965.2023.0730
Abstract:

A graph attention stacking autoencoder approach for predicting the association between microorganisms and drugs, known as GATSAE, is proposed in response to the conventional method of finding new associations between microorganisms and drugs, which is primarily accomplished through biological experiments, which is highly costly and time-consuming. Firstly, establish a heterogeneous network of microorganisms and drugs to enrich the associated information. Secondly, the convolutional fusion matrix of microorganisms and drugs is obtained by extracting multi-layer latent features through graph convolutional network (GCN). Once again, an improved stacked autoencoder is used to learn unsupervised low dimensional representations of meaningful high-order similar features. Graph convolution and attention mechanisms are added to the stacked autoencoder to further optimize the extraction of high-order feature information. Finally, the low-dimensional features are concatenated with associated features, and a multi-layer perceptron (MLP) is used to score and predict the final microbial drug. According to performance evaluation, GATSAE subjects’ area under the receiver operating characteristic curve (AUROC) and area under the precision-recall curve (AUPR) were 0.9619 and 0.9577, respectively. These results are better than those of popular deep learning techniques and traditional machine learning techniques. Case studies have shown that GATSAE can accurately predict candidate drugs related to SARS-CoV-2 and Escherichia coli, as well as candidate microorganisms related to aspirin.

Spatial-temporal enhanced abnormal behavior detection based on multi-channel coupling
ZHANG Dongping, PAN Xin, MA Daobin, MI Hongmei, LIN Lili
2026, 52(1): 73-79. doi: 10.13700/j.bh.1001-5965.2023.0752
Abstract:

To address the limitations of existing abnormal behavior detection models—particularly their inadequate feature representation and insufficient modeling of dynamic temporal characteristics—this paper proposes a multi-channel coupled spatio-temporal enhanced anomaly detection method. Built upon the SlowFast network architecture, the proposed approach integrates a multi-channel coupled spatial enhancement module into the slow pathway to strengthen static feature modeling, and a multi-channel coupled temporal enhancement module into the fast pathway to improve the discriminability of dynamic temporal features. Extensive experiments on three benchmark datasets—Violent Flow, Hockey Fight, and Real-life Violence Situations—demonstrate that the proposed method achieves prediction accuracies of 95.3%, 97.3%, and 94%, respectively, outperforming current state-of-the-art approaches. The results validate the superior feature representation capability and generalization performance of the proposed method in abnormal behavior recognition tasks.

Performance boundary identification method for autonomous decision-making systems based on neighbor boundary degree
LU Hui, LYU Jingru, WANG Shiqi, SUN Zebin
2026, 52(1): 80-93. doi: 10.13700/j.bh.1001-5965.2023.0767
Abstract:

The ability of an autonomous decision-making system to withstand disruptions is reflected in its performance boundary, which is a crucial indicator of its resilience. A performance boundary identification approach based on neighbor boundary degrees is proposed for autonomous decision-making systems, taking into account the features of multi-space distribution and incremental creation of performance boundary data. In order to solve the absolute scale measurement problem, we first design the neighbor boundary degree index. Then, we propose a performance boundary identification process based on neighbor boundary degree, which addresses the challenges of a complex performance boundary search space and non-uniform scale throughout the space. Secondly, the incremental performance boundary Identification method based on neighbor boundary degree is proposed by combining incremental data with the original identification results in order to accurately describe the performance boundary and to achieve efficient incremental data processing. An approximate nearest neighbor search optimization technique that enhances local sensitive hashing is then suggested in order to address the efficiency issue of nearest neighbor search and reverse nearest neighbor search that arose in the incremental phase. Finally, benchmark systems and path planning systems are used as autonomous decision-making systems to carry out verification and analysis of theoretical research work. Experimental results show that the performance boundary identification method based on neighbor boundary degree has good generalization ability of algorithm parameters. In the experiment on the path planning system, this method has a 13.68% higher boundary recognition accuracy and a 91.57% shorter running time compared to the comparison method.

Two-layer task planning method for multi-UAV logistics distribution
WANG Fei, YANG Qingping
2026, 52(1): 94-103. doi: 10.13700/j.bh.1001-5965.2023.0719
Abstract:

In urban UAV logistics distribution, the two main components that must be merged are multi-UAV task collaborative allocation and distribution path design. In order to ensure the safety and efficiency of multi-UAV logistics distribution, the grid method is used to model the ultra-low space environment of a three-dimensional city, and the grid risk calculation method is described. Secondly, a two-layer programming model of UAV distribution route and flight path collaborative planning is constructed. In the upper layer model, considering the constraints of UAV load and maximum range, a genetic algorithm is introduced to determine the UAV distribution order with the goal of minimum delay penalty cost. In the lower model, a comprehensive improved particle swarm optimization(CIPSO) algorithm is proposed to solve the flight path of the UAV by considering the performance constraints of the UAV and aiming at the minimization of timeliness cost, UAV height variation, and grid risk. Last but not least, the simulation results demonstrate that CIPSO's overall cost is lower than that of particle swarm optimization(PSO)and improved acceleration coefficients particle swarm optimization(ICPSO)algorithm by 65.00% and 38.41%, respectively. This suggests that the constructed model and the proposed algorithm developed in this study are both practical and efficient.

A contact angle measurement method for torsional teeth
TONG Xiaoyan, LU Dongsheng, BAI Hui, CHANG Long
2026, 52(1): 104-109. doi: 10.13700/j.bh.1001-5965.2023.0721
Abstract:

The angle measurement of torsional teeth is commonly used in the manufacture and performance test of a helicopter power system. The impact of their coupling on the measurement of torsional teeth angle is examined, as is the influence of installation error caused by the non-alignment between the contact measuring probe and the direct drive motor during the measurement of torsional teeth angle, the error caused by the non-concentricity between the measuring probe and the motor during the installation of torsional teeth, and a contact measuring scheme for measuring torsional teeth angle using a magnetic encoder. A method of angle measurement using redundant observations is proposed and verified by practical angle measurement, which eliminates the influence of the installation errors of torsional teeth and probe on the measurement results, and deduces the angle calculation formula. The results show that the proposed method not only reduces the installation and debugging requirements of the measuring system but also improves the accuracy of angle measurement for the torsional teeth, making it suitable for similar precise angle measurements.

Identification of mesoscopic fault of full ceramic ball bearings based on strain energy theory
BAI Xiaotian, ZHANG Zhaonan, SHI Huaitao, ZHANG Xiaochen
2026, 52(1): 110-119. doi: 10.13700/j.bh.1001-5965.2023.0715
Abstract:

The traditional steel bearing outer ring dynamics model is unable to describe the issue of sub-millimeter or even millimeter-scale mesoscopic flaws inside the outer ring of complete ceramic ball bearings. Based on the strain energy theory, a dynamic model is established for the subsurface mesoscopic defects of the outer ring of full ceramic ball bearings, and the influence of different defect depths on the running state of the outer ring of full ceramic ball bearings is investigated at the scale of mesoscopic defects. Through simulation, it is confirmed that when a mesoscopic defect exists on the subsurface of the outer ring of the bearing. There is a corresponding characteristic frequency near the intermediate frequency of the frequency domain signal, and the degree of defect evolution is determined by the ratio of the maximum positive value of its empirical mode decomposition (EMD) third-order component amplitude to its corresponding peak value of the intermediate frequency. Finally, the effectiveness of the constructed model is verified through experiments. Finally, the validity of the proposed dynamics model and simulation results is verified by experiments. The established model makes it possible to determine the degree of defect evolution and if sub-surface mesoscopic defects are present in the outer rings of complete ceramic ball bearings. The established model provides a new idea for the defect diagnosis of full ceramic ball bearings and a theoretical reference for the safe and stable operation of full ceramic bearing rotor systems.

Numerical simulation research on opposing jet interaction characteristics of rocket inverse flight
ZHANG Peihong, JIA Hongyin, ZHAO Jiao, WU Xiaojun, ZHOU Guiyu, ZHANG Yaobing
2026, 52(1): 120-128. doi: 10.13700/j.bh.1001-5965.2023.0710
Abstract:

Powered vertical recovery is one of the key technologies to realize the reusable launch vehicles. The rocket's backward flight will create a huge separation irregular flow throughout the vertical recovery process, and complicated aerodynamic interference will result from the engine's reverse jet interacting with the mainstream. These pose serious challenges to numerical simulation methods. Based on NNW-FlowStar software and unstructured hybrid grid technology, the numerical method was validated using the ball head opposing jet model and the self-developed rocket opposing jet wind tunnel test model. The interference characteristics of different double jet states on the opposing jet flow of the rocket are studied. The study demonstrates that the NNW-FlowStar is more capable of simulating the interference features of a rocket's reverse flight, and the findings of the numerical simulations correlate well with the test results. Different combined jet forms show different jet interference characteristics and flow field structures. The axial force of different jet schemes varies significantly, which also has a great impact on torque characteristics and even leads to changes in the longitudinal static stability of the whole rocket body. In the supersonic flow state, the deceleration effect is best in the second double injection state.

Multiple model minimum upper bound filter under generalized unknown disturbances
QIN Yuemei, ZHANG Ronghua, YANG Yanbo, PAN Quan
2026, 52(1): 129-139. doi: 10.13700/j.bh.1001-5965.2023.0723
Abstract:

This paper presents the multiple model upper bound filter (MMUBF) for maneuvering target tracking, since the tracking error is too big in existing algorithms when encountering with generalized unknown disturbances. In the multi-model framework, the minimum upper bound filter is implemented as the corresponding sub-filter in every mode to realize state update recursively. Then, the unknown disturbance is identified online according to the filtered result and the posterior mode probability, and the resultant estimate of disturbance is adopted to re-calculate the likelihood in each mode to eliminate the effect of the existence of unknown disturbance on the update of the posterior mode probability. Meanwhile, in order to further improve the model matching accuracy, the Markov transition probability matrix is adaptively adjusted using correction factors. In addition, the computational complexity of the algorithm is analyzed by calculating the number of floating-point operations at each step. In the meantime, the Markov transition probability matrix is adaptively modified using correction factors to further increase the model matching accuracy. Additionally, the number of floating-point operations at each step is calculated in order to examine the algorithm's computational complexity. Regarding various levels of measurement noises, process noises, adjustment coefficients, and probability correction threshold, the simulation results of maneuvering target tracking with time-varying unknown disturbances demonstrate that the suggested algorithm effectively suppresses the tracking error and has higher estimation accuracy than the existing interacting multiple model filter, adaptive interacting multiple model filter, improved adaptive interacting multiple model filter by gray wolf optimization algorithm, and single model-based minimum upper bound filter.

Experimental study on interferometric altimetry using a ground-based dual-antenna cGNSS-R
HONG Xuebao, LI Jie, XING Jin, YANG Pengyu, YANG Dongkai
2026, 52(1): 140-146. doi: 10.13700/j.bh.1001-5965.2023.0742
Abstract:

The direct and reflected signals can be concurrently received by both antennas of a conventional global navigation satellite system reflectometer (cGNSS-R) in ground-based settings. It is unfavorable for cGNSS-R carrier phase altimetry, but it also provides cGNSS-R the possibility of retrieving reflector height in the way of interferometric reflectometry. An initial ground-based water surface experiment was carried out to investigate the feasibility of cGNSS-R interferometric altimetry. GPS L1 C/A signals were received by an up-looking right hand circularly polarized (RHCP) antenna and a down-looking left hand circularly polarized (LHCP) antenna and then collected by a dual-channel sampler. The raw signals were postprocessed to generate their correlation power sequences. These sequences were then subjected to the GNSS interferometric reflectometry altimetry technique in order to estimate the LHCP antenna heights. Experimental results show that the correlation coefficients between the retrieved values and the true values are 0.77 and 0.95 for the RHCP antenna and the LHCP antenna, respectively. The mean absolute errors of the results are 0.15 m and 0.04 m, and the root mean square errors are 0.17 m and 0.04 m. It indicates that both the RHCP antenna and the LHCP antenna of a conventional GNSS reflectometer can be used for ground-based interferometric altimetry, and the LHCP antenna performs better in this openness-limited scenario.

Cooperative pattern recognition method for air-ground networked swarms
QU Guixian, ZHOU Jianshan, SI Yang, LIU Xiaojing, YUAN Qiyu, MA Qinglin
2026, 52(1): 147-156. doi: 10.13700/j.bh.1001-5965.2023.0722
Abstract:

The air-ground networked swarms have excellent application potential in national economics and production, such as smart cities, smart agriculture and forestry, and intelligent transportation. It also shows an exceptional value of application in the military fields, such as battlefield situational awareness and air-ground cooperative strikes. This paper addresses the need for accurate perception and recognition of complex environmental targets in air-ground networked swarms. We present a distributed learning and adaptive information fusion approach for air-ground network clustering, and we develop a model that minimizes the global likelihood function based on the probability of pattern categorization. This algorithm includes two main steps: information diffusion based on the gradient descent method and information fusion based on adaptive weighting calculation, and forms an air-ground cooperative pattern recognition method. Furthermore, the average error recursive equation for the cooperative pattern recognition algorithm of the air-ground networked clusters is derived, and the error convergence of the algorithm is theoretically proven. The results of the simulation demonstrate that the distributed fusion algorithm is accurate and that it can converge to the theoretical optimal level of the system in terms of both average mean square deviation and system error of information estimation. The simulation results show that the distributed fusion algorithm has good accuracy, and the algorithm's average mean square deviation and system error of information estimation can converge to the system's theoretical optimal level. When the number of nodes increases from 10 to 40, the mean square deviation of the distributed fusion algorithm for air-ground networked swarms decreases from −48.70 dB to −53.96 dB, and the system error reduces from −27.42 dB to −30.22 dB, which is close to the theoretical value of the error. Comparative experiments show that the algorithm proposed in this paper has good accuracy compared to traditional methods and can effectively support the perception and recognition of complex environmental targets for air-ground networked swarms.

HPC fault and performance analysis in field of petroleum geophysical exploration
WANG Mingjian, ZHAO Changhai, LI Chao, WEN Jiamin, SHANG Minqiang, HOU Hongjun
2026, 52(1): 157-166. doi: 10.13700/j.bh.1001-5965.2023.0768
Abstract:

Terabytes or even petabytes of data are now available due to the ongoing advancements in seismic data gathering technologies in the field of petroleum geophysical prospecting. As the volume of data, running time, and the number of nodes in high-performance computer (HPC) clusters increase, the probability of cluster issues and the difficulty of maintenance also rise. When a cluster or node fails, it often requires re-running the computing program, resulting in significant waste of resources. Therefore, based on the concepts of open tracing format (OTF) and distributed link tracing, this paper suggests a low invasive fault analysis method for high-performance computing clusters and programs in production environments in order to address the issues of low observability, difficult to analyze fault, and performance of HPC programs in computing clusters. The technique has the advantage of low invasion in addition to being able to monitor HPC programs in a production setting. The suggested method can be applied in production environments programs nearly without changing code. After that, the study applies this technique to the distributed "Trace Gather" sort program in a production setting for data gathering and analysis. It then confirms the efficacy of the approach outlined in this paper and identifies any hidden software flaws or performance issues in the program.

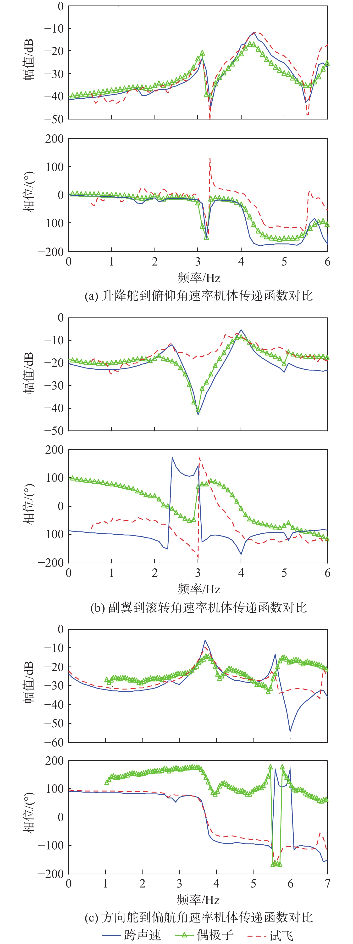
Transonic aeroservoelastic analysis of civil aircraft based on overset field-panel method
WU Shanqiang, CHEN Qi, SUN Yajun, NI Zao, CHEN Wen
2026, 52(1): 167-179. doi: 10.13700/j.bh.1001-5965.2024.0729
Abstract:

Compared with subsonic, when a civil aircraft flies in transonic, it’s aeroservoelastic characteristics appear as obvious frequency deviation and stability margin decrease. he aeroservoelastic design in the transonic should be thoroughly taken into account during the preliminary design stage since the development cost is high, the test flight risk is high, and the design change cycle is lengthy for aircraft in the development phase. The unsteady aerodynamic calculated by DLM cannot take into account the effects of the transonic shock wave and the boundary layer. The unsteady small disturbance velocity potential is separated into steady and unsteady terms in order to calculate the transonic unsteady aerodynamic. Computational fluid dynamic (CFD)is used to solve the transonic steady term, and the unsteady terms are then calculated by solving the time-linear transonic small disturbance velocity potential equation using the unsteady flow field element method. The obtained transonic unsteady aerodynamic influence coefficient is substituted into the calculation of the frequency response function of the aircraft transfer function. The calculated results are compared with DLM aerodynamic model computation results and flight test results. The transonic aeroservoelastic analysis based on the Over Field-Panel Method is more consistent with the flight test results in terms of frequency deviation and stability margin reduction. Exploring the frequency and stability margin of the transfer function in the transonic region to provide a method for aerosevoelastic design in the transonic region.

Variable fuzzy comprehensive evaluation for intelligent manufacturing digital twin model
WANG Xiangzhang, YU Lili
2026, 52(1): 180-191. doi: 10.13700/j.bh.1001-5965.2023.0711
Abstract:

A systematic multidimensional assessment index system for digital twin models was created utilizing the goal-question-metric (GQM) method in response to the dearth of reference standards and unified evaluation techniques for intelligent manufacturing digital twin models. By combining the advantages of variable fuzzy recognition model and information entropy aggregation weight algorithm, a digital twin quality value evaluation method based on improved variable fuzzy model was constructed. In order to solve the problems of fuzziness and uncertainty in expert evaluation, the variable fuzzy recognition model is improved by using group decision theory, and the index weight is calculated by using information entropy on the basis of considering expert opinion preference. Finally, the quality, performance and value of a digital twin model of an aircraft manufacturing plant are evaluated. According to the example study, the digital twin model of the aircraft production facility has an evaluation level of “S4 good,” although it tends to be “S3 qualified,” and there is still opportunity for improvement. At the same time, the feasibility and rationality of improving the variable fuzzy recognition model are verified, and the method support is provided for the construction of standardized intelligent manufacturing digital twin model.

Spatiotemporal distribution characteristics of high-altitude wind shear
YANG Junfeng, CHENG Xuan, WANG Jianmei, ZHANG Yiming, HU Xiong, XIAO Cunying
2026, 52(1): 192-202. doi: 10.13700/j.bh.1001-5965.2023.0738
Abstract:

The vehicles at the rising stage are susceptible to being influenced by upper atmospheric wind. The high-altitude wind shear is essential in the rocket design. The synthetical wind vector approach is used to determine the wind shear features from the ground to 30 km in the East Asia region, based on the National Centers for Environment Prediction (NCEP)reanalysis data from 2020 to 2022. The findings indicate a relationship between season, altitude, and horizontal distribution and the maximum wind direction, maximum wind speed, and wind shear. The wind shear from radiosonde observations is used to analyze the difference between true atmospheric wind shear and that from NCEP. NCEP underestimates the wind shear. The attack angles of two simulated launch vehicles in the atmosphere wind are analyzed. The results indicate that wind shear has a significant impact below 5 km and between 7~18 km. These results are helpful to grasp the distribution characteristics of high-altitude wind shear in China and provide a reference for the accurate and safe rocket design.

Target trajectory tracking and extrapolation based on INT-VSMM algorithm
REN Xuanming, TANG Xinmin, LIU Yusheng, LU Qixing
2026, 52(1): 203-213. doi: 10.13700/j.bh.1001-5965.2023.0724
Abstract:

In order to address the issue of the traditional variable structure multiple model (VSMM) algorithm's lengthy computation time and difficulty meeting real-time constraints, we developed the intent variable structure multiple model (INT-VSMM) algorithm. This algorithm uses the target state and flight intent data collected by automatic dependent surveillance-broadcast (ADS-B) as the model’s priori data, combining it with the VSMM theoretical framework. The motion pattern of the target in the flight phase of the flight path is decomposed, and a complete set of motion models is established. According to the principle of directed graph switching, a model set switching method is designed, which is mainly based on "hard" switching and supplemented by "soft" switching. The INT-VSMM algorithm is used to track the trajectory of the target aircraft, and short-term trajectory extrapolation is performed based on the target state estimation. According to the simulation results, the INT-VSMM algorithm outperforms the compared current approaches in terms of target tracking performance and computing time. Additionally, the extrapolated trajectory has a lower short-term inaccuracy, which can satisfy conflict detection requirements.

Theoretic model of flow resistance for gas-filled accumulators in liquid rockets
SHI Tong, HE Yunqin, LIANG Guozhu, PAN Hui, ZHU Pingping
2026, 52(1): 214-222. doi: 10.13700/j.bh.1001-5965.2023.0748
Abstract:

Hydraulic dynamics analysis of the pressurized supply system is needed in the process of longitudinal structure stability analysis of the launch vehicle. The method of calculating the accumulator’s resistance directly affects the accuracy of the dynamic analysis of the supply system. At present, the commonly used method is to ignore the influence of the fluid flow inside the propellant supply system and to analyze the accumulator resistance with an orifice flow model. However, this method has large errors. In this paper, by introducing the communication port flow model, the non-linear resistance calculation formula of the accumulator is deduced, where the influence of the vertical flow in the propellant supply system is considered. Then, this theoretical calculation method is verified by conducting a steady-state simulation on an accumulator. Under the various situations, it is discovered that the nonlinear resistance calculation approach suggested in this study may greatly increase prediction accuracy within a variation of less than 10%, whereas predictions based on the orifice flow model have deviations above 30%. The linear resistance theoretical formula under quasi-steady condition is further deduced and the linear resistance curve is drawn. The linear resistance of the accumulator was found to have a minimum value, which is related to the total flow area of the communication port and the velocity of propellant inside the main pipe.

Supersonic flutter prediction based on unmatched substructure method
LIU Chenyu, XIE Changchuan
2026, 52(1): 223-231. doi: 10.13700/j.bh.1001-5965.2023.0749
Abstract:

Accurate prediction of the flutter velocity boundary of a supersonic vehicle is one of the key and difficult points in the aeroelasticity research of a supersonic vehicle. Aiming at the problems of a high degree of freedom and complex flutter mode coupling form of the supersonic vehicle model, a structural reduce-order modeling method based on the unmatched substructure method is proposed, and aeroelastic flutter modeling is realized by combining unsteady piston theory and fluid-solid coupling interpolation theory. The conventional mode method, the traditional substructure method, and the unmatched substructure method are used to investigate the supersonic flutter characteristics of a panel model and a swept wing model. The results show that, compared with commercial software, the relative error of the main low-order frequency and flutter velocity of the model is less than 1.1% and 1.3% respectively. Compared with the traditional modal method, the substructure method requires fewer modal orders. As a result, the suggested approach can effectively and precisely forecast the flutter characteristics of common supersonic aircraft.

A deep learning-based dual-domain information method for CT metal artifact reduction
HAI Chao, TIAN Xin, ZHANG Hong, TAN Dalong, HE Yixin, MENG Fanyong, YANG Min
2026, 52(1): 232-243. doi: 10.13700/j.bh.1001-5965.2023.0753
Abstract:

When metal is present in the field of view of a CT scan, the reconstruction of images inevitably produces metal artifacts, significantly impacting image quality. In order to suppress metal artifacts, we propose a new deep learning CT metal artifact reduction (MAR) method that combines dual domain information from both the sinogram and image domains. Firstly, the adaptive optimal threshold segmentation method is used to segment the metal in the CT image and remove the metal corrosion area in the sinogram. Linear interpolation (LI) is used to preliminarily repair the missing metal area. After the metal-contaminated sinogram domain has been repaired using the sino-inpainting network, further picture information is recovered by employing an encoder-decoder network structure. The sinogram domain output from the network undergoes filtered back projection (FBP) to generate CT reconstructed images. To address inconsistencies in the initially corrected sinogram domain information, a non-local refine network is utilized in the image domain to reduce secondary artifact generation. This technique successfully lowers metal artifacts while maintaining image details, greatly improving the quality of the reconstructed images, according to experimental results using both simulated and real data.

Spoofing detection method based on single rotating antenna
CHEN Shimiao, NI Shuyan, WANG Shaoshan, WANG Haining, LYU Jinfei
2026, 52(1): 244-251. doi: 10.13700/j.bh.1001-5965.2023.0764
Abstract:

Spoofing is a serious security risk to the global navigation satellite system (GNSS) because of its strong concealment and high harm features. Multi-directional spoofing detection is not possible with existing spoofing detection techniques that rely on moving single antennas. To achieve this, we provide a spoofing detection technique for a single spinning antenna that is based on the intersection angle between two directions of arrival. The essence of this method is to estimate the intersection angle between two directions of arrival based on the carrier phase difference of the received signal. The projected value and the estimated value of the intersection angle between two directions of arrival should match in the absence of spoofing. Spoofing is difficult to accurately simulate the directionality of navigation signals, which can disrupt the consistency between the estimated and predicted values of the intersection angle between two arrival directions. Therefore, a detection variable is established based on the estimated and predicted values of the intersection angle between two directions of arrival, and the generalized likelihood ratio test (GLRT) can detect multi-directional spoofing. We used on-site experiments to confirm and assess the simulation to examine how single rotating antenna settings affect detection performance. The results indicate that the method proposed in this article can efficiently detect multi-directional spoofing.

Multilingual knowledge graph completion without aligned entity pairs
TANG Rongchuan, XU Qiucheng, TANG Wenyi, ZHAI Feifei, ZHOU Yu
2026, 52(1): 252-259. doi: 10.13700/j.bh.1001-5965.2023.0709
Abstract:

The goal of multilingual knowledge graph completion (MKGC) is to improve link prediction performance on the target knowledge graph by leveraging data from other language-specific knowledge graphs. Existing methods usually use pre-aligned entities between different knowledge graphs to accomplish knowledge transfer. However, there are usually no pre-aligned entities between different knowledge graphs in practical scenarios, making knowledge transfer difficult to achieve. Considering the MKGC without aligned entity pairs, a pseudo-aligned entity generation module that integrates a pre-trained language model is proposed to iteratively generate new aligned entities for knowledge transfer. It is suggested to use a graph neural network based on multi-graph attention (MGA-GNN) to encode the triples in order to differentiate the information in various language-specific wisdom graphs. Finally, the plausibility of the triples is calculated via the embeddings output by the network to conduct the link prediction task. Experimental results on the DBP-5L and E-PKG datasets show the effectiveness of the proposed method and its superior performance in more practical scenarios.

Precision tightening technology for aeroengine blind cavity nuts
ZHANG Zongjiang, LI Xiaoqiang, HAN Yujie, LI Zhaoyu, ZHANG Mingming
2026, 52(1): 260-274. doi: 10.13700/j.bh.1001-5965.2023.0739
Abstract:

The connection quality of the narrow blind cavity of the aeroengine rotor has a great impact on the overall assembly quality of the rotor. The precise control ability of the bolt connection process is inadequate given the current domestic and international circumstances, which impact the connection mechanical properties of the mating surface of the rotor disc and shaft parts. This is because there is a lack of accurate and efficient assembly tooling for the blind cavity structure. Based on the above research status, according to the tightening assembly requirements of a certain type of blind cavity nut, the blind cavity tightening system is divided into a tightening torque transmission mechanism and an operation actuator. In the design of the tightening torque transmission mechanism, firstly, the torque method and torque angle method are compared to determine the torque angle method as the final execution process. The input and output torque model is established taking into account the torque loss to determine the input torque of the tightening tool in order to achieve high-precision control of the tightening torque. At the same time, the torque transmission structure is designed and the strength and longevity of important components are examined. In the design of the operating actuator, firstly, the mechanical design of the actuator and the 3DCS simulation of the high-precision moving parts worm gear and worm are carried out. At the same time, the trajectory planning and kinematics simulation are carried out by using MATLAB. Based on the aforementioned research, the blind cavity nut tightening technology is experimentally verified, and a perception system and control system for visual identification are built to achieve high-precision equipment control. It is of great significance to improve the quality and consistency of the blind cavity bolt array connection between the narrow disks.

Planning method for a multi-debris active removal mission considering space debris mass
GUO Jia, ZHANG Haibo, PANG Zhaojun, DU Zhonghua
2026, 52(1): 275-285. doi: 10.13700/j.bh.1001-5965.2023.0747
Abstract:

In solving the problem of multi-debris active removal, the existing decision framework based on the time-dependent traveling salesman problem (TD-TSP) only optimizes the debris removal sequence and transfer time. And the effect of optimization is limited. In light of the features of multi-debris active removal missions, this study introduces the decision framework’s timing for debris release and adds debris quality as a criteria to be taken into account. This achieves a balance between the number of transfers and platform load, thus achieving optimization at a deeper level. A clustering algorithm suitable for drift orbit transfer methods is designed to select debris from a large-scale debris pool that is suitable as mission targets. This decouples the selection of debris from mission planning optimization, thereby reducing computational complexity. With reference to the orbital information of the Iridium-33 debris cloud, simulation experiments were conducted with fixed debris masses as well as with varying debris masses, which is closer to reality. The results indicate that the clustering algorithm can select targets with similar orbits and facilitate transfer. Better performance metrics have been demonstrated by the solutions derived from the decision framework presented in this research than by those derived from more conventional decision frameworks. By capturing debris in batches, the cost of the mission can be further reduced.

Influences of multimodal redundant alarm design on reaction performance of armored vehicle crew under noise environment
ZHOU Sunxia, LIU Shuang, WANYAN Xiaoru, FENG Chuanyan, WANG Yihang, XIE Fang
2026, 52(1): 286-293. doi: 10.13700/j.bh.1001-5965.2023.0712
Abstract:

In order to investigate the effect of different multimodal redundant alarm design on the reaction performance of armored vehicle occupants under a noisy environment, 24 participants were recruited and subjected to simulation driving experiments utilizing a new type of high-fidelity armored vehicle semi physical simulation platform. Three alarm redundancies were tested: visual channel, auditory channel, and audio-visual dual channel designs, across high and low noise conditions. The findings demonstrate that, in comparison to the visual channel redundancies, drivers' response error rate and reaction time to warnings are substantially reduced in the auditory channel redundancies and audio-visual dual channel redundancies. The response error is generally lower in low noise environments than in high noise environments, although response time remains consistent across noise conditions. The interaction between noise conditions and alarm design does not significantly affect alarm response performance, eye movement indicators, or subjective workload scores. Comparing the multimodal alarm with redundant auditory prompts to the visual-only redundancy, the study finds that the former significantly enhances drivers' reaction to warning information. However, the combination of auditory and visual redundancy does not yield further performance improvements. A low noise environment positively influences response performance enhancement.

Intelligent recognition of electromagnetic signal modulation with embedded domain knowledge
ZHAO Hongjia, ZHANG Duona, LU Yuanyao, DING Wenrui
2026, 52(1): 294-305. doi: 10.13700/j.bh.1001-5965.2023.0746
Abstract:

With the increasingly complex electromagnetic environment, wireless communication is facing severe challenges, making modulation recognition of electromagnetic signals, which becomes an important aspect of cognitive radio technology. Deep learning techniques have poor interpretability and little applicability, while traditional identification techniques have limited representation capabilities. In this paper, we propose an intelligent modulation recognition method that combines the advantages of both methods by embedding domain knowledge. In order to enhance classification performance and network interpretability, this technique integrates deep neural networks with high-order information and electromagnetic signal spectrum processes. Based on the RML2018 dataset, our method achieves a 6.31% improvement in modulation recognition accuracy compared to the ResNet method.

Design and analysis of double magnetic circuit rotating Lorentz force magnetic bearing
PANG Weikun, WANG Weijie, FAN Yahong, LI Lei, YANG Yang, ZHU Hongye
2026, 52(1): 306-316. doi: 10.13700/j.bh.1001-5965.2023.0763
Abstract:

A Lorentz force magnetic levitation universal stability platform was proposed in response to the pressing need for universal agility and ultra-precise pointing performance of spacecraft payload in complex space missions. The design and analysis of double-magnetic circuit rotating Lorentz force magnetic bearings were conducted, and the moving coil rotor scheme was chosen. The four-hanging lug-shaped coils of the rotor assembly were wound in pairs and glued into the grooves on both sides of the skeleton axial direction. The stator components are arranged in pairs in parallel with a common rotating shaft and a double annular axial magnetized magnetizer to create a uniform and stable magnetic density, and provide a circumferential dual-channel symmetrical working air gap for the agile maneuver of the load compartment. Based on the equivalent magnetic circuit method, the magnetic density model of the air gap was established, and the linearity of the magnetic density was defined from the two aspects of the uniformity and fluctuation rate of the magnetic density of the air gap, and then the rotor rotation dynamics was modeled and the rotational moment model was constructed. Utilize Maxwell's finite element method to establish a finite element model for rotary magnetic bearings and conduct the simulation, the results demonstrate that the magnetic density at the center position of the air gap rotation envelope of the rotating magnetic bearing scheme can reach 685.624 mT, and the circumferential magnetic density uniformity is 99.72%. This significantly improves the uniformity of air gap magnetic density, avoids the limitations of radial magnetization schemes such as air gap magnetic density attenuation and longitudinal magnetic field diffusion, and effectively enhances the stability and pointing accuracy of the payload bay under rotating conditions.

Underwater visible light communication sensing integrated waveform design based on OTFS-LFM
YANG Xin, DUO Lin, REN Yong, XU Boyu
2026, 52(1): 317-325. doi: 10.13700/j.bh.1001-5965.2023.0770
Abstract:

Underwater visible light communication (UVLC) systems have gained a lot of attention due to the growing need for underwater communication. At present, the concept of communication and sensing integration has emerged, especially the UVLC systems’ development has become a new research hotspot. Orthogonal time-frequency space (OTFS) technology has garnered significant attention due to its exceptional performance in high-Doppler and high-delay channels, thereby providing robust communication support for the system. At the same time, linear frequency modulation (LFM) technology is widely used in the field of wireless communication due to its low sensitivity to Doppler frequency shift. In this paper, an UVLC perception integration system is designed by combining OTFS technology with LFM technology. Through experimental simulation comparison, the system performs well in bit error rate (BER), ambiguity function, target speed and distance information acquisition. The system, which combines OTFS technology and LFM technology, exhibits excellent adaptability in complex underwater environments, bringing new possibilities to the field of underwater communication. At the same time, three common modulation methods are also considered, and the possible effects of different modulations on system performance are further analyzed, offering useful insights for system optimization.

Health status assessment of stratospheric airship based on improved combination weighting and cloud model
ZENG Shengfu, LIANG Haoquan, WANG Yan, SUN Kangwen, ZHONG Zihong
2026, 52(1): 326-337. doi: 10.13700/j.bh.1001-5965.2023.0713
Abstract:

In the context of stratospheric airship health assessment, this paper introduces an innovative methodology that combines composite weighting with a cloud model and incorporates a expert evaluation system. The objective is to provide comprehensive technical support for the evaluation of stratospheric airship health status. First, by examining possible hazards and malfunctions in the different stratospheric airship subsystems, an evaluation criterion system is created. Subsequently, composite weights are determined for these criteria through a combination of a expert evaluation system and the linear composite weighting method. Based on the defined evaluation set and standard cloud model specific to stratospheric airships, cloud models are generated for each indicator and the overall health assessment. Cloud similarity and membership degree computations are used to quantitatively evaluate each indicator's health. Lastly, a case study featuring a stratospheric airship trial is used to validate the methodology. Finally, the methodology is validated through a case study involving a trial of a stratospheric airship. The results demonstrate that the proposed approach, improved combination weighting and cloud model, effectively support the assessment of stratospheric airship health status. Furthermore, the incorporation of a expert evaluation system enhances the model’s applicability to the unique characteristics of stratospheric airships, thus providing a solid foundation for subsequent maintenance and safety control tasks in the field of stratospheric airship operations.

Nonlinear region of attraction of angular motion for a controlled projectile with self-rotating wraparound fins
ZHOU Wentao, CHANG Sijiang, ZHAN Pengyao, CUI Huizhen
2026, 52(1): 338-351. doi: 10.13700/j.bh.1001-5965.2023.0732
Abstract:

A study on the nonlinear angular motion characteristics has been conducted with the goal of addressing the stability issue of a controlled projectile with self-rotating wraparound fins under the influence of nonlinear aerodynamic force and duck rudder control force. According to the ballistic and structural characteristics of this type of sling and arrows, a seven-degree-of-freedom rigid-body motion model is established, according to which the nonlinear angular equations of motion in the state-space form are deduced. The characteristic points of the ballistic trajectory are selected, and the corresponding nonlinear aerodynamic coefficients are obtained by using the numerical simulation and polynomial fitting methods, and the estimation of the domain of attraction based on the sum-of-squares planning is adopted to analyse the effects of the duck rudder control and nonlinear aerodynamic coefficients on the stability domain of this type of slings and arrows in a quantitative manner. Based on the results of the simulation and theoretical analysis, the size of the duck rudder control force has a significant impact on the stable attraction domain of the angular motion of the projectile and arrow. For example, in the paper, the attraction domain boundary decreases by approximately 16.9% when the rudder deflection angle δc is 20° compared to the uncontrolled state, while the control force azimuth has barely any effect. The lift coefficient derivative, the static moment coefficient derivative, and the nonlinear terms of the forebody and aft body Magnus moment coefficient derivative are the main factors affecting the stable attraction domain of the projectile and arrow in this type of motion. The nonlinear Magnus moment of the rear body has a significantly larger effect on the region of attraction of the angular motion of the projectile than that of the front body.

Fixed-time attitude sliding mode fault-tolerant control for liquid-filled spacecraft
FAN Zhiwen, SONG Xiaojuan, LYU Shufeng, YUE Baozeng
2026, 52(1): 352-361. doi: 10.13700/j.bh.1001-5965.2023.0736
Abstract:

The attitude system of liquid sloshing in liquid-filled spacecraft with actuator saturation, actuator failure, and external disturbance is studied. A sliding mode fault-tolerant control strategy based on a disturbance observer is proposed to achieve attitude fixed-time stability. In the process of dynamic modeling, the liquid fuel with large sloshing is equivalent to the motion pulsating ball model, and the dynamic equation of rigid-liquid coupling spacecraft is established. To guarantee that the complete disturbance in the control system can be calculated in a predetermined amount of time, an adaptive fixed-time disturbance observer is initially created during the attitude controller design phase. On this basis, a fixed-time attitude sliding mode fault-tolerant control strategy is designed by using sliding mode control theory. In addition, by introducing the hyperbolic tangent function, the sign function of traditional input saturation is overcome. Despite external disturbances, actuator failure, and actuator saturation, the control technique may rapidly establish high-precision attitude stability of the spacecraft. Finally, the attitude sliding mode fault-tolerant control scheme proposed in this paper is numerically simulated and compared to verify the effectiveness and superiority of the control strategy.

Inpainting of electrical imaging logging images based on fast Fourier convolution
SU Qianxiao, QIAO Dexin, REN Yili, FENG Zhou, LIN Shenglan, HUANG Ruiqi
2026, 52(1): 362-370. doi: 10.13700/j.bh.1001-5965.2023.0754
Abstract:

Imaging logging is an important technique for complex reservoir evaluation. It provides a two-dimensional image of the wellbore, showing the wellbore’s structural features and playing an important role in evaluating seam holes and sedimentary structures. However, the lack of a resistivity imaging logging device causes blank streaks to show up on the logging images, which makes computer data processing more challenging and affects visual continuity in manual identification. Currently, traditional image inpainting methods and neural networks do not perform well on filling the well logging images. Therefore, there is an urgent need to research a deep learning-based image inpainting method for blank streaks in imaging logging images. A dataset was constructed using electrical imaging logging images from the LG area of the Southwest Oil and Gas Field. This dataset was used to train a new deep learning algorithm for intelligent restoration of blank streaks based on fast Fourier convolution, based on a fast Fourier convolution neural network for filling blank streaks in imaging logging images. This technique solves the challenge of acquiring entire wellbore photos and makes it possible to quickly, accurately, and intelligently inpaint blank streaks in well logging images.

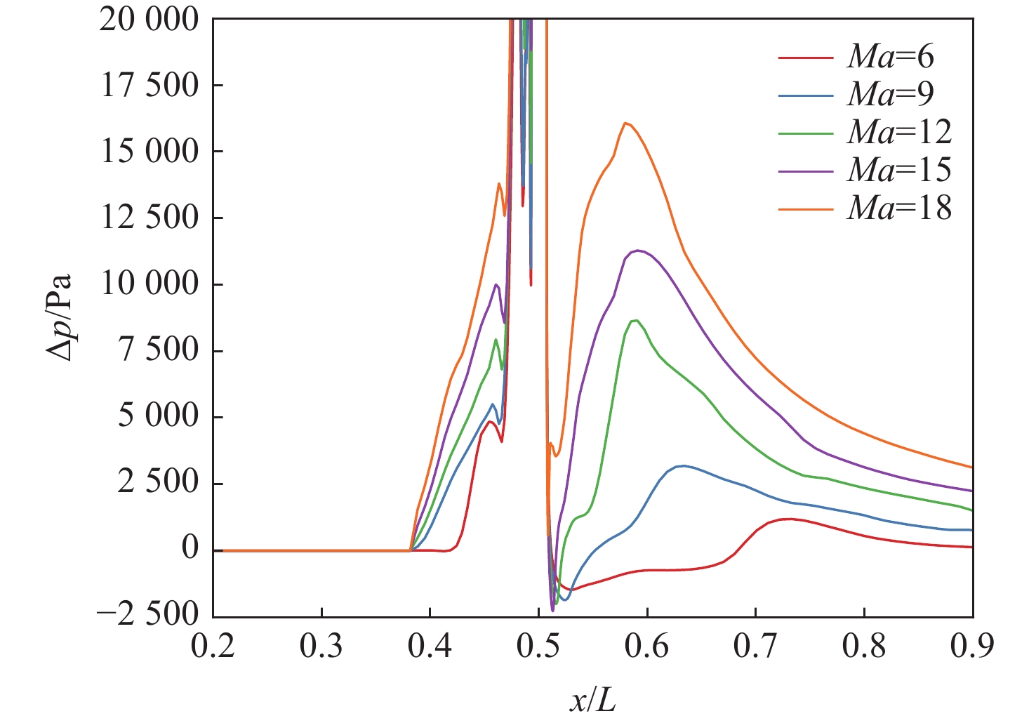
Numerical analysis and flow state prediction of double wedge steady/unsteady flow at different in flow
ZHANG Xinze, LI Qin, WENG Yihui, YOU Yancheng
2026, 52(1): 371-384. doi: 10.13700/j.bh.1001-5965.2023.0758
Abstract:

This paper focuses on the laminar interaction of shock waves and the phenomenon of steady/unsteady flow in the hypersonic double wedge flow. The different working conditions (Ma and Re) were selected for numerical simulation and flow characteristics research with the developed third-order WENO scheme; The variation patterns of shock wave structure and separation zone in steady/unsteady flow fields caused by parameter changes were summarized. Based on the least squares support vector machine (LS-SVM) model, we developed a steady/unsteady flow states prediction model for the double wedge flow using various kernel functions (linear, polynomial, and radial basis functions) in order to forecast the steady/unsteady flow states of the double wedge flow at various Ma and Re. Three prediction models were validated and evaluated on the validation set. With 16 working circumstances, the results demonstrate that the radial basis function prediction model is capable of successfully predicting every double wedge flow state. The accuracy and true positive rate of the prediction results are 1, and the false positive rate is 0. The prediction ability is the strongest and has better generalization ability. The polynomial kernel prediction model takes second place in prediction ability, and the linear kernel prediction model has the worst prediction ability.